联系电话 0371-67772626

  1. 首页
  2. 新闻中心
  3. 行业新闻
  4. 浮选工艺中常用的筛分设备

浮选工艺中常用的筛分设备

作者:开元官方版网站登录入口机器 发布时间:2012-03-29 00:00:00

立即咨询

立即咨询了解设备报价及服务,工厂直销,享优惠折扣价!

圆盘式加压过滤机常用在浮选工艺中,圆盘式加压过滤机的结构组成由五大部分组成,分别是:加压仓、盘式过滤机、刮板运输机、密封排料阀、自动控制装置。下面具体介绍:

1. 加压仓

加压仓是一个压力容器,整个加压过滤过程在此仓中进行。仓的一端为一固定封头,另一端为活封头,以便装入过滤机和刮板机。一般检修都在仓内进行,仓内设有照明、检修平台和起重梁;为了方便人员和零部件进出,设有ø1200mm及ø900mm入孔各一个。并装有视镜方便仓内运行情况的观察;仓顶装有安全阀。

2.盘式过滤机

加压仓内装有盘式过滤机。加压状态下的盘式过滤机与普通的盘式真空过滤机有很大的不同。首先,为了适应压差的增高,滤盘耐压强度相应的增高;其次,为了减少压缩空气的消耗,将滤扇个增加,并且浸入深度也有相应增加,过滤槽内液位与主轴的中心线可达到同一水平。为此,盘式过滤机的主轴密封装置有所改善;为了适应过滤强度的增加情况,将滤液管断面提高了一倍,并放在主轴的外圈,以方便更换;为了解决滤槽中粒度分层现象,特别研制了轴流式强力搅拌器,加强了滤槽中矿浆上下层的对流以改善过滤效果。

滤盘材料一般会选用玻璃钢或不锈钢,滤布采用特制的不锈钢丝编织布制成的。工作时滤盘在槽中煤浆内旋转,在压缩空气作用下煤浆会在滤盘上形成滤饼。滤饼在滤盘上部脱水并被带到卸料位置。该位置上有一特殊的导向装置,其上安有卸料刮刀,刮刀与滤盘间距保持在2-4mm之间,此种卸料方式使滤饼脱落率在95%以上,同时设有反吹装置,当滤饼厚度小于5mm时,需用反吹卸料。

3.刮板运输机

刮板运输机的主要用途是将脱水后卸落的滤饼运到加压仓下部的排料口内。刮板运输机的主体是常见的刮板机,链条结构为双边圆环链,下链运输;在工作时会采取措施,不让其飘链;机头卸料;机头机尾设有防存料装置;槽底衬有铸石防粘。

4.密封排料装置

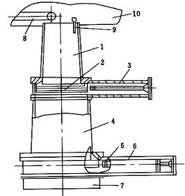
密封排料装置是加压过滤机重要的部件,它的作用是在密封状态下可靠地进行排料动作,从而顺利的排出已脱水的滤饼,节省消耗的压缩空气量。目前应用的主要是双仓双闸板交替工作的密封排料装置,其上的两个闸板采用液压驱动,闸板上的密封采用充气橡胶密封圈。加压过滤时,过滤机连续工作,密封排料的上下仓以间歇方式排料,短排料周期为50s。密封排料阀结构示意图如图1所示。

密封排料阀结构示意图

图1 密封排料阀结构示意图

5. 自动控制装置

自动控制装置由传感器、变送器及控制器、调节器和执行器三部分组成。加压过滤机主体安装在压力容器内,工作条件恶劣,机构动作频繁,排料周期短,衔接紧凑,闭锁严密。

该设备安装了一套技术先进、功能完善、工作可靠、操作灵活方便的参数监测装置,以保证加压过滤机的效能高运行状态,加压过滤机的控制方式三种:就地、集中与自动,前两种用于设备的检修与调整工作,后一种适用于生产运行。

为您推荐

想了解设备资料?报价?售后?请留言,速回电

厂家直销,留言立享本月优惠价

免费提供环保政策、办厂手续、投资预算等资料

  • 量身定制高性价比生产方案
  • 到厂考察设备,就近参观客户现场
  • EPC项目总承包服务,全权负责建厂
今日已有 23 人留言享受优惠报价
  • 3分钟前 高先生:时产200吨制砂机报个价,处理鹅卵石

  • 8分钟前 李先生:移动式破碎机怎么解决粉尘问题?

  • 13分钟前 徐女士:需要制砂机,南宁能看制砂现场吗?

  • 16分钟前 程先生:破碎生产线出个方案及报价,有什么售后服务?

  • 22分钟前 郑女士:想了解时产500吨锤破,加工石灰石

  • 31分钟前 吴先生:成套石头破碎设备有吗?给个详细产品资料

  • 36分钟前 罗先生:每小时100吨左右的鄂破和反击破,推荐下型号

  • 42分钟前 梁先生:膨润土磨到200目,用什么磨粉设备?

提交留言我们会第一时间回复您!

相关新闻

  • 煤泥浮选设备及工艺

    要把煤泥实现工业利用是一件比较难的事情,开元官方版网站登录入口机器为了克服这一困难,经过长时间潜心研究,终于生产出来了一套完整的煤泥浮选设备。

    2018-03-15
  • 方解石浮选设备及其工艺

    方解石的应用范围很广,可做食品添加剂,冶金工业的熔剂,生产水泥、石灰、玻璃的生产原料。那么方解石是提纯的呢?这就要用到方解石的浮选设备了,今天我们就以方解石的浮选设备及其生产工艺流程为大家做详细介绍。

    2018-01-27
  • 节能型选矿设备

    选矿设备是对各种金属矿以及有色金属矿进行加工的设备类型,这类设备也是当代矿山领域需求量高的,其中节能型设备是今后发展的主流,本文对节能型选矿设备进行详细的分析与介绍。

    2017-05-31
  • 菱镁矿选矿设备

    菱镁矿是一种利用价值非常高的碳酸盐类矿物,对其进行选矿处理后可被广泛应用于化工、冶金、建材、水泥、冶金等各个工业领域中,对于大部分选矿厂来说,菱镁矿选矿设备的选用是一个很大的难题,下面就由开元官方版网站登录入口机器为大家简要介绍几款常用的菱镁矿选矿设备。

    2017-02-08
  • 绿柱石浮选设备如何配置合理

    为了提取绿柱石中的铍矿物,通常需要采用浮选法对其进行浮选分离处理,那么绿柱石浮选设备如何配置才合理呢?开元官方版网站登录入口机器作为国内专业的绿柱石浮选设备厂家,专门针对绿柱石的特征,配置了一套合理的绿柱石浮选设备,下面对这套设备进行一一介绍。

    2016-12-12
  • 锂矿浮选生产线设备及工艺流程

    全球锂矿资源集中分布于中国、阿根廷、智利这3个国家,其中我国储量非常丰富,占世界总资源的25.7%,国内知名锂矿产地为四川(52.8%)、江西(24.1%)、湖南(15.0%)等省份。锂矿浮选后得到的锂金属,被广泛应用于冶金、环保、化工、电子、能源、汽车、润滑剂等领域。

    2016-11-16