联系电话 0371-67772626

  1. 首页
  2. 新闻中心
  3. 行业新闻
  4. 常用的碎矿筛分流程分类

常用的碎矿筛分流程分类

作者:开元官方版网站登录入口机器 发布时间:2012-04-16 00:00:00 更新时间:2018-11-02 00:00:00

立即咨询

立即咨询了解设备报价及服务,工厂直销,享优惠折扣价!

碎矿筛分流程就是矿石经过碎石和筛分的过程,碎矿筛分流程的种类较多,可以根据下列三个因素加以区分。即碎矿的段数,碎矿机与筛分机械的配置关系,筛上物是否返回碎矿机再碎等加以确定。选矿厂中常用的筛分设备有圆振动筛,直线振动筛等设备。

按碎矿段数分类:按碎矿的段数不同分为一段碎矿、二段碎矿、三段碎矿、四段碎矿,其中一段及四段碎矿除极特殊情况外很少采用,二段碎矿和三段碎矿比较常用,尤其以三段碎矿流程应用为广泛。

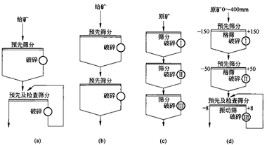
按筛分机械与碎矿机间的配置关系分类:按配置关系可分为预先筛分、检查筛分、预先检查筛分三种,筛分的种类如图所示。

筛分种类示意图

a,b两段碎矿流程                    c,d三段碎矿流程

按筛上产物是否返回碎矿机再碎矿分类:按筛上产物是否返回可分为开路碎矿筛分流程和闭路碎矿筛分流程两种。开路碎矿筛分是物料不返回的碎矿筛分流程,闭路碎矿筛分流程是碎矿产物再返回筛分机械进行筛分。闭路碎矿流程仅用于碎矿作业的一段,为磨矿作业提供粒度严格、粒级组成均匀的矿石。

当矿山规模不大原矿粒度较小,所用设备也小时,两段碎矿产品粒度就能满足磨矿作业要求时,可采用两段闭路碎矿筛分流程。两段开路碎矿筛分流程多在重选厂采用,第二段碎矿作为棒磨机的原料进行粗磨再供应选矿作业,实际上就是以棒磨机代替第三段碎矿。

三段开路碎矿筛分流程在粒度上虽能达到碎矿作业的要求,但产品粒度的均匀性难以保证,在选矿厂应用不多。三段闭路碎矿筛分流程不仅在粒度上能满足磨矿作业的需要,而且产物由筛子严格控制,粒度的均匀性较好,有利于球磨机提高处理量和磨矿效率。三段闭路碎矿筛分流程是目前应用广的碎矿筛分流程。

想了解设备资料?报价?售后?请留言,速回电

厂家直销,留言立享本月优惠价

免费提供环保政策、办厂手续、投资预算等资料

  • 量身定制高性价比生产方案
  • 到厂考察设备,就近参观客户现场
  • EPC项目总承包服务,全权负责建厂
今日已有 23 人留言享受优惠报价
  • 3分钟前 高先生:时产200吨制砂机报个价,处理鹅卵石

  • 8分钟前 李先生:移动式破碎机怎么解决粉尘问题?

  • 13分钟前 徐女士:需要制砂机,南宁能看制砂现场吗?

  • 16分钟前 程先生:破碎生产线出个方案及报价,有什么售后服务?

  • 22分钟前 郑女士:想了解时产500吨锤破,加工石灰石

  • 31分钟前 吴先生:成套石头破碎设备有吗?给个详细产品资料

  • 36分钟前 罗先生:每小时100吨左右的鄂破和反击破,推荐下型号

  • 42分钟前 梁先生:膨润土磨到200目,用什么磨粉设备?

提交留言我们会第一时间回复您!

相关新闻

  • 某选矿厂棒磨加球磨流程的应用问题

    棒磨加球磨流程(简称R+B)在我国具有广阔的发展前景,在中小型选厂应用较为广泛。即便是半自磨加球磨流程在我国已有较成熟的使用经验和设备条件。R+B流程仍不失为一种有可取之处的比较方案。某选矿厂处理的矿石为难磨、易选的铜砂岩,磨矿阶段即采用的棒磨加球磨流程,磨矿效果非常好。

    2016-01-07
  • 球磨机的几种分类

    球磨机按照不同的标准可分为许多类型。如果想进一步了解球磨机的分类请联系开元官方版网站登录入口机器。

    2014-05-22
  • 在选矿试验中常用的行星磨机有哪些?

    在选矿生产中,确定合适的生产工艺、工作参数、改进设备等,均离不开试验设备,如破碎机,如磨机等。本文主要介绍常用的行星磨机。

    2013-09-13
  • 浮选机分类与工作原理

    目前市场上出现的浮选机可以归为三类:细粒浮选、粗粒浮选和新型浮选机,浮选机的工作原理和日常保养和维护的详细内容如下所示

    2012-11-06
  • 煤泥烘干机的分类介绍

    煤泥烘干机常用的燃料形式主要有固体、液体、气体、热载体及电能等,而热源设备主要包括煤气发生炉、沸腾炉、热风炉、喷煤机。下面开元官方版网站登录入口专家着重介绍其燃料选择五大原则和四大热源设备详细介绍。

    2012-10-05
  • 双轴振动筛的分类

    双轴振动筛采用两根作同向或反向等速旋转带有偏心质量的激振轴激振来实现振动筛的振动运动。按振动筛的振动运动轨迹分,双轴振动筛可分为双轴直线振动筛、双轴圆振动筛、双轴椭圆振动筛、双轴特殊轨迹振动筛。

    2012-08-27