想了解设备资料?报价?售后?请留言,速回电
厂家直销,留言立享本月优惠价免费提供环保政策、办厂手续、投资预算等资料
在振动筛的筛分过程中,粉尘的治理是一个比较重要的问题。在振动筛的结构中,粉尘收集装置的功能是降低筛子的粉尘量。但在其工作过程中,往往由于装置密封性能不良,影响除尘效果。针对这一问题,可采取哪些措施以提高粉尘收集装置呢?
由于振动筛工作时整个筛箱是振动的,其集尘罩内为负压,运行过程中滤布被筛箱内部负压所吸,导致出现如下问题:振动筛筛箱上部两边的滤布和4个振动箱吊耳相互摩擦;由于矿石进入料漏斗时落下并弹起,导致振动筛筛箱上的滤布和矿石摩擦。由此出现滤布磨损的问题,当漏风量达到一定量时,影响除尘效果。
(1).jpg)
1)将振动筛筛箱上部两边的4个振动箱吊耳割除,并打磨光滑。
2)振动筛筛箱上后部加一快废旧胶带,以挡住弹起的矿石,使矿石不直接磨损滤布。胶带长度以刚好盖住滤布为准,如果胶带太长,滤布和胶带中间易挤入矿石摩擦滤布。
3)振动筛筛箱下后部距下沿65 mm处加l500mm×150 mm×6 mm的挡板一块,筛箱下前部两边对称加一块挡板1(见图1),挡住下落的矿石,以使矿石不碰到密封滤布。
.jpg)

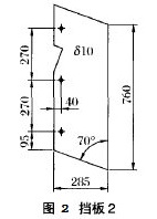
4)将振动筛筛箱前部上层出料斗拆除。因上、下层筛中矿石都进入同一漏斗到圆锥破碎机,两边各加一块挡板2(见图2),挡住弹起的矿石,使矿石不碰到密封滤布。
改进后滤布结构如图3。
.jpg)
粉尘收集装置经上述改进后,可使滤布不直接接触矿石,从而延长了滤布的使用寿命。经实际运行,改进后的粉尘收集装置具有良好的密封效果,除尘效果较好,达到了粉尘排放的标准和要求。
想了解设备资料?报价?售后?请留言,速回电
厂家直销,留言立享本月优惠价免费提供环保政策、办厂手续、投资预算等资料
3分钟前 高先生:时产200吨制砂机报个价,处理鹅卵石
8分钟前 李先生:移动式破碎机怎么解决粉尘问题?
13分钟前 徐女士:需要制砂机,南宁能看制砂现场吗?
16分钟前 程先生:破碎生产线出个方案及报价,有什么售后服务?
22分钟前 郑女士:想了解时产500吨锤破,加工石灰石
31分钟前 吴先生:成套石头破碎设备有吗?给个详细产品资料
36分钟前 罗先生:每小时100吨左右的鄂破和反击破,推荐下型号
42分钟前 梁先生:膨润土磨到200目,用什么磨粉设备?
提交留言我们会第一时间回复您!
某水泥厂矿渣烘干设备采用回转式烘干机,该机产量较低,尤其是随着后期矿渣掺加量的增加,该机更是显得力不从心,原设计的产量完全不能满足水泥磨生产。为提高烘干机产量,该水泥厂对影响产量的原因进行了深入分析,并采取了一系列改造措施,效果显著。
2016-01-16在球磨机设备中,传动装置是非常重要的组成部分,无论是质量、体积或成本因素,都对球磨机的正常工作有着很大的影响。在实际应用中,传动装置很容易受到各种因素的影响,进而失去效用,影响球磨机的正常使用。
2015-05-28振动筛是用于物料分离和分级的设备。随着煤炭企业的发展和科学技术的进步,该设备已经运用到了很多的领域。振动筛结构简单、工作效率高,成为主要的筛分设备,采煤过程中合理的运用振动筛,使其成为采煤工作不可缺少的一部分。
2015-01-23密封装置是烘干机不可缺少的重要组成部分,是衡量设备性能好坏的重要指标。烘干机密封装置的关键性作用主要表现在以下三个方面:如果进气端漏入过量冷空气,会降低热气温度,影响热工效率;如果出气端漏入大量冷空气,则有可能使废气降温到露点而结露,影响除尘设备的正常工作;同时,因操作中经常出现倒风现象,如果没有密封装置,会逸出大量粉尘,污染车间环境。
2014-08-04煤泥烘干机是由热源、打散装置、带式上料机、进料机、回转滚筒、带式出料机、引风机、卸料器、清扫装置和配电柜构成的新型专用干燥设备,是河南开元官方版网站登录入口烘干湿物料的烘干设备系列产品之一。在煤泥烘干机的一系列装置中,清扫装置有什么重要作用呢?
2014-07-10O—Sepa选粉机在水泥生产中的应用非常广。在其使用过程中,选粉机撒料盘上的立筋易被磨损,撒料效果差,无法形成均匀的料幕,从而使细粉不能有效地选出,选粉机选粉效率较低。为此,可对选粉机进行改造。
2014-03-24